М4195 - Карусель

Добавить в избранное
01_Красный_Желтый_Зеленый
02_Красный_Желтый_Синий
13_Изумрудный_Салатовый_Желтый
14_Рыжий_Салатовый_Желтый
21_Красный_Желтый_светло-Серый_Серый
  • Стоимость: по запросу
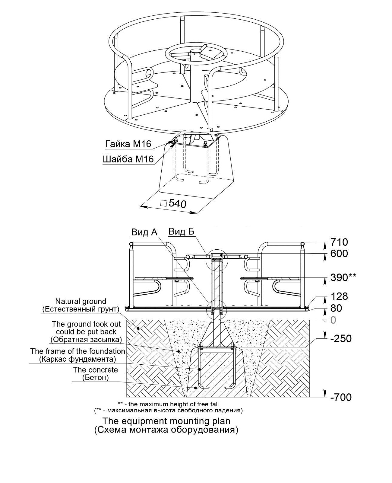
Карусель должна представлять собой устойчивую конструкцию, обеспечивающую безопасное вращение посадочных мест для детей вокруг вертикальной оси.
Характеристики
  • Артикул: М4195
  • Габаритные размеры: 1640x1640x710 мм
  • Возрастная группа: от 3 до 12 лет
Описание
Характеристики

Карусель должна представлять собой устойчивую конструкцию, обеспечивающую безопасное вращение посадочных мест для детей вокруг вертикальной оси. Карусель должна состоять из опоры, центральной оси, каркаса с поручнем по периметру карусели, платформы, руля, сегментного сиденья. Под сегментным сиденьем и  над сиденьем при входе на карусель должны быть установлены ребра жесткости, приваренные к каркасу. Опора должна представлять собой металлический круг диаметром не менее 60 мм и металлической платформы из листа толщиной не менее 8 мм, с приваренными к ней косынками, выполненными из металлического листа толщиной 5 мм.  Центральная ось должна быть выполнена из металлической трубы диаметром не менее 100 мм. Каркас должен быть выполнен из металлических труб сечением не менее 50х25 мм и диаметром не менее 26 мм. Платформа должна быть выполнена из влагостойкой противоскользящей фанеры толщиной не менее 21 мм. Сиденье карусели должно быть выполнено из влагостойкой фанеры толщиной не менее 21 мм. Поручень и ребра жесткости должны быть выполнены из металлической трубы 33 мм.

  • Артикул: М4195
  • Габаритные размеры: 1640x1640x710 мм
  • Возрастная группа: от 3 до 12 лет